气象传感器-微型气象仪厂家价格型号 网站地图
气象传感器生产厂家

做微型气象仪,防爆气象传感器优良供应商

咨询热线:
13276363313
电话
土壤养分测定仪-恒美农业仪器
负氧离子传感器

负氧离子传感器

发布时间:2022-03-01 13:10:32

型号:TH-WQX5B

品牌:AGGAME

负氧离子传感器又称大气负氧离子传感器,一体式负氧离子传感器,负氧离子传感器不仅可以检测负氧离子浓度还能够检测空气温度、湿度、PM2.5、PM10,五中气象参数集成一体,安装方便,检测数据精准。

产品描述

一、负氧离子传感器产品简介

山东AGGAME环境科技有限公司作为专业研发生产销售微型气象仪的企业,一直致力于微型气象仪和气象环境解决方案推广应用。具有完整的生产链、实力雄厚的技术团队和全面的营销团队,我们研发生产的超声波风速风向仪、五要素微气象仪、六要素微气象仪和小型自动气象站等气象产品,已广泛应用到气象监测、城市环境监测、风力发电、航海船舶、航空机场、桥梁隧道等领域,客户遍布全国各地,并取得了良好的社会效益和经济效益。

TH-WQX5B型负氧离子传感器创新性地将负氧离子、空气温度、湿度、PM2.5、PM10等气象要素通过一个高集成度结构来实现,可实现户外气象参数24小时连续在线监测,通过数字量通讯接口将五项参数一次性输出给用户。


二、负氧离子传感器产品特点

1、抗干扰能力强,具有看门狗电路,自动复位功能,保证系统稳定运行

2、高集成度,无移动部件,零磨损

3、免维护,无需现场校准

4、采用ASA工程塑料室外应用常年不变色

5、产品设计输出信号标配为RS485通讯接口(MODBUS协议);可选配232、USB、以太网接口,支持数据实时读取☆

6、可选配无线传输模块,最小传输间隔1分钟

7、探头为卡扣式设计,解决了运输、安装过程松动不准的问题☆


三、负氧离子传感器技术参数

1)负氧离子:0~10万个/cm3,(读数±10%;离子迁移率≤±20%);

2)空气温度:-40℃~85℃(±0.3℃);

3)空气湿度:0~100%RH(±2%RH);

4)PM2.5:0-1000ug/m3(±15%)

5)PM10:0-1000ug/m3(±15%)


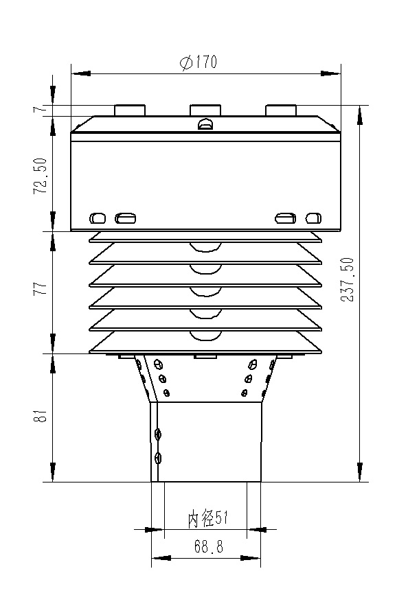
四、负氧离子传感器产品尺寸图

负氧离子传感器产品尺寸图

五、负氧离子传感器产品结构图


负氧离子传感器产品结构图


六、产品接线定义


 

定义


备注

VCC

电源正

DC12V

GND

电源地


485A

RS485A


485B

RS485B



文章地址:http://www.caudalieshop.com/jqqxcgq/329.html
返回
AGGAME


网站地图